Loox 720 Как спаять двойной USB провод для запитки
Loox 720 Как спаять двойной USB провод для запитки
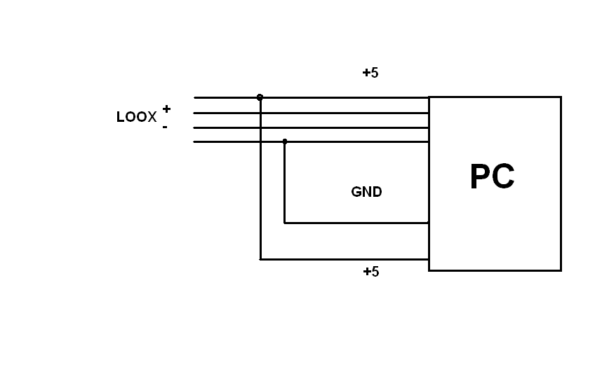
У одного входа ограничение на 500ма по току, Луху не хватает (
Недавно увидел, что некорые хитрые производители USB винтов для увеличения тока делают раздвоенную косичку для увеличения тока
Попробовл сам для Луха спаять такую же штуку: к мама-папа USB проводу припаял еще одного папу на землю и питание (таким образом при воткнутых в комп вдух папах макс выдаваемый ток должен быть 500+500)
Но Луху от этого лучше не стало (
Не подскажее, что сделал не так?
Недавно увидел, что некорые хитрые производители USB винтов для увеличения тока делают раздвоенную косичку для увеличения тока
Попробовл сам для Луха спаять такую же штуку: к мама-папа USB проводу припаял еще одного папу на землю и питание (таким образом при воткнутых в комп вдух папах макс выдаваемый ток должен быть 500+500)
Но Луху от этого лучше не стало (
Не подскажее, что сделал не так?
от одного провода лукс заряжается
но только при условии что не аккум не слишком разряжен
точную планку не скажу, но при 20% он жувать одновпроводное электричество точно отказывается
но только при условии что не аккум не слишком разряжен
точную планку не скажу, но при 20% он жувать одновпроводное электричество точно отказывается
Последний раз редактировалось unno Пн ноя 19, 2007 21:56, всего редактировалось 1 раз.
во-во
кто нибудь точные цифры знает??
Это ж сколько хвостов к луху нужно припаять, чтоб он от компа в любом состоянии заряжался?
И отдает ли порт все 500ма в порт при отсутсвии линий данных?
Просто странно, спаял, прозвонил - все ок
а зарядка через него не идет вообще, даже при подключении проверенного кабеля с зарядрным функционалом (которые при прямом втыкании в комп заряжает зверька)
кто нибудь точные цифры знает??
Это ж сколько хвостов к луху нужно припаять, чтоб он от компа в любом состоянии заряжался?
И отдает ли порт все 500ма в порт при отсутсвии линий данных?
Просто странно, спаял, прозвонил - все ок
а зарядка через него не идет вообще, даже при подключении проверенного кабеля с зарядрным функционалом (которые при прямом втыкании в комп заряжает зверька)
- Вложения
-
- loox.PNG (13.09 КБ) 10686 просмотров
не скажу насчет 720 но мой N560 вполне заряжается от одного провода USB правда он воткнут в хаб со своим питаловом но вряд ли там больше 500мА на канал, просто они честные...насчет дешевых материнок и блоков питания которые не могут и 500мА на канал дать согласен такое вполне возможно
Scream all you want you won't wake up when you scream
no-one leaves...
keep on rolling © Keicy Raibek
no-one leaves...
keep on rolling © Keicy Raibek
Лукс 720 требует от 1,1 ампера (выключен) до 1,4 (включен со всем радио) на зарядку. Даже двух портов не хватит, нужно три.
Концентратор обычно не ограничен по току на выход, БП штатный - 2 ампера.
Любой USB отдает 500 мА. Вопрос только в том, что некоторым портам еще надо сообщить, что мы требуем 500 мА. Иначе порт отдает только 100 мА. Это заложено в спецификации USB, и не надо гнать на китайские материнки и БП.
Концентратор обычно не ограничен по току на выход, БП штатный - 2 ампера.
Любой USB отдает 500 мА. Вопрос только в том, что некоторым портам еще надо сообщить, что мы требуем 500 мА. Иначе порт отдает только 100 мА. Это заложено в спецификации USB, и не надо гнать на китайские материнки и БП.
Нет, только не кошки. Не верь им. Их глаза. Их глаза. Они знают слишком много.
Нешто спи обратно.
Нешто спи обратно.
Как же тогда объяснить факт зарядки устройства от одного порта кабелем перемкнутым питанием?Darkcat писал(а):Лукс 720 требует от 1,1 ампера (выключен) до 1,4 (включен со всем радио) на зарядку. Даже двух портов не хватит, нужно три.
это правда почему то происходит только при заряде аккума не ниже 50